-
图文详情
-
产品属性
-
相关推荐
HY.BFX-型振弦式测缝计使用说明
1用途
HY.BFX-1型振弦式测缝计适用于长期布设在混凝土结构物或其它材料结构物内及表面上,测量结构物伸缩缝或周边缝的开合度(变形),并可同步测量埋设点的温度。加装配套附件可组成基岩变位计、表面裂缝计等测量变形的仪器。
2规格及主要技术参数
规格 | 2,5,10 | 20 |
测量范围, mm | 20,50,100 | 200 |
分辨率 %F·S | ≤0.05 | ≤0.08 |
综合误差 %F·S | ≤1.5 | |
温度测量范围, ℃ | -25~+60 | |
温度测量精 度, ℃ | ±0.5 | |
温度修正系数b,mm/℃ | ≈0.05 | |
防渗水压力Mpa | ≥1 | |
绝缘电阻, MΩ | ≥50 |
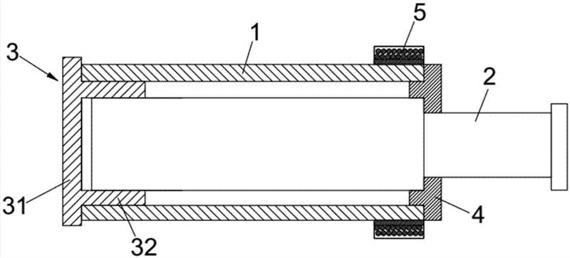
3结构及工作原理
3.1结构
振弦式测缝计由前后端座、保护筒、信号传输电缆、振弦及激振电磁线圈等组成。
3.2工作原理
当被测结构物发生变形时将会带动测缝计变化,通过前、后端座传递给振弦使其产生应力变化,从而改变振弦的振动频率。电磁线圈激振振弦并测量其振动频率,频率信号经电缆传输至读数装置,即可测出被测结构物的变形量。同时可同步测量埋设点的温度值。
4.1附件的埋设
首先检查测缝计是否完好,将仪器接上读数仪,用手握住仪器两端,向两头拉或压,看读数仪读数是否正常。当确认测缝计完好后,将保护筒拆下来,准备安装保护筒。根据设计要求确定埋设高程、方位,在设计定位的工作缝模板的内侧(工作缝先浇注的一侧)上固定安装护管盖,之后将护管及前端座旋在护管盖上。附件安装一定要牢靠,以免混凝土浇捣及拆模时保护筒移位。确定安装完好后,即可浇捣混凝土。
4.2测缝计的埋设安装
拆模后在工作缝的外侧拧下护管盖,按设计编号将对应的测缝计(已接长电缆并旋上后端座)小心地旋紧在前端座上(用手旋紧)。调整测缝计的埋设零点。将电缆按设计走向埋设固定好,集中引出。
4.3注意事项
振弦式测缝计安装定位后应及时测量仪器初值,根据仪器编号和设计编号作好记录并存档,严格保护好仪器的引出电缆。
5验收与保管5.1用户开箱验收仪器,应先检查仪器的数量(包括附件)及出厂检验合格证等是否与装箱清单相符。5.2开箱后每支仪器应先用100V兆欧表量测电路与密封壳体之间的绝缘电阻,其测值应满足绝缘电阻规定要求。验收时每支仪器应用读数仪测量,检查仪器是否正常。
5.3仪器应保管在干燥、通风的房间中。

是
测缝计
裂缝
0-200
0.1mm
测缝计
0.5






